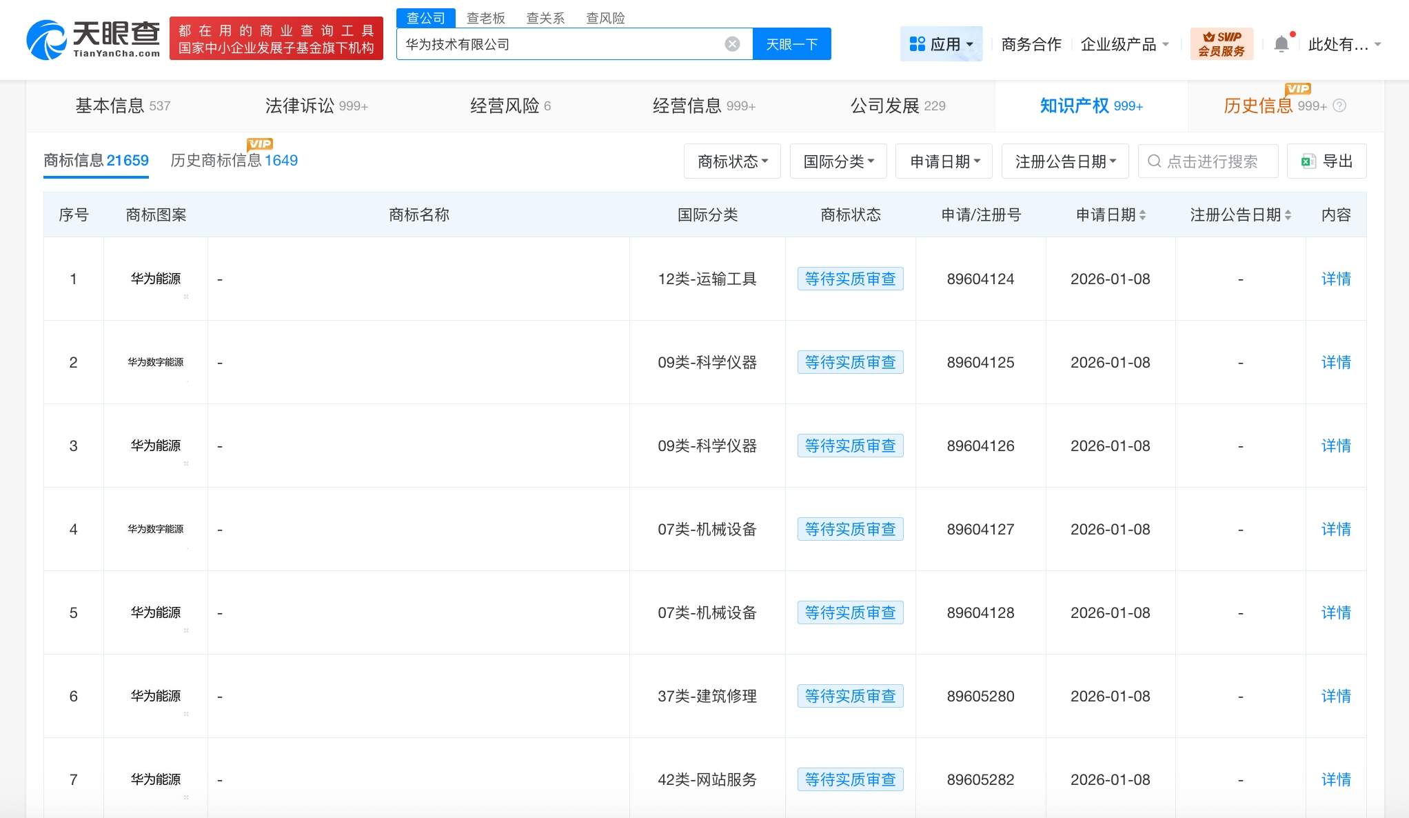
天眼查知识产权信息显示,近日,华为技术有限公司申请注册多枚“华为能源”“华为数字能源”商标,国际分类包括科学仪器、运输工具、机械设备等,当前商标状态均为等待实质审查。

华为技术有限公司成立于1987年9月,法定代表人为赵明路,注册资本约410.4亿人民币。股东信息显示,该公司由华为投资控股有限公司全资持股。

华为申请注册华为能源商标  第1张

华为申请注册华为能源商标  第2张

华为申请注册华为能源商标  第3张

(:贺